據國外媒體報道,當地時間5月7日,特斯拉為一款沒有觸點焊接的電池申請了專利,埃隆·馬斯克宣稱這種電池的重要性“超乎想象”。
據悉,特斯拉在發布新專利的申請中明確指出當前電池的局限性:“目前的電池采用膠輥設計,其中陰極、陽極和隔板被卷在一起,并采用陰極接線片和陽極接線片連接電池外殼的正極和負極端子。電流通過這些觸點與電池外部的接插器聯通。然而,當電流必須沿陰極或陽極一路通過觸點并流出電池時,歐姆電阻會隨著距離的增加而增強。此外,由于觸點是額外的組件,因此會增加成本并帶來生產方面的挑戰?!?/span>
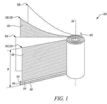
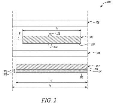
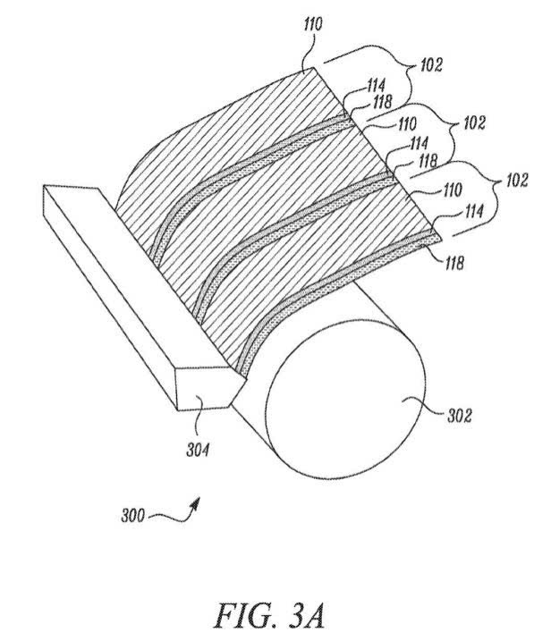
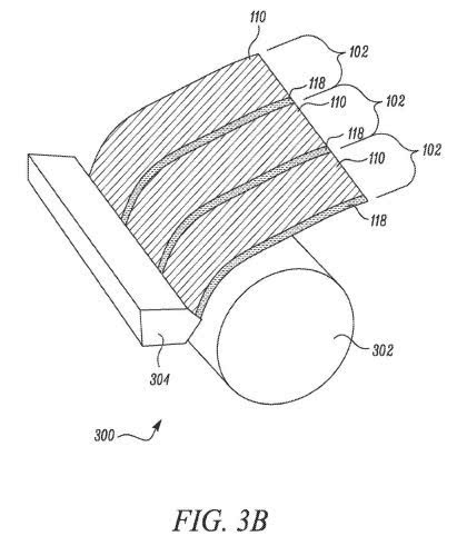
特斯拉這項名為“無觸點電池”的新專利描述了一種構建電池的新方法,從而避免上述問題。該公司在專利申請中寫道:“本發明描述的是具有至少一個無觸點電極的儲能裝置及其制作方法。所述電池包括第一基板(含第一涂層),導電材料附著在沿第一基板寬度近端處的第二部分。內部隔板設置在第一基板上。第二基板同樣帶有涂層。第一基板、內部隔板和第二基板以連續的方式繞中心軸卷動?!?/span>
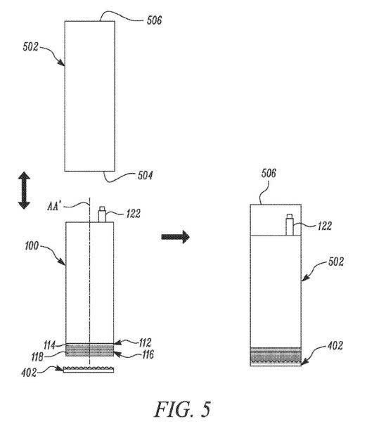
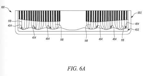
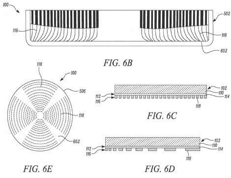
以下特斯拉在專利申請中發布的相關圖紙:








最近,特斯拉一直在申請大量與電池有關的知識產權,其中包括為其可續航100萬英里的電池設計一個新的電極。
此前,科技網站Electrek 曾透露特斯拉正在開展內部秘密Roadrunner項目。該公司計劃使用特斯拉內部團隊開發的技術大規模生產每千瓦時成本低于100美元的電池,這些技術包括來自達恩團隊的工作,以及最近通過收購麥克斯韋獲得的新技術。
對于這種特殊的新無觸點電池,馬斯克在推特上評價這項技術的重要性超乎想象,但沒有給出更多解釋。在數周后即將舉行的特斯拉電池日上,業界預測該公司也許將宣布更多消息。
分析人士指出,像特斯拉這樣的公司經常會申請專利技術,而這些專利卻未必一定會進行商業化。
然而,馬斯克明確指出了這項專利技術的重要性,也許與該公司轉向無模塊電池組的可能性有關,畢竟無模塊電池組需要對電池單元進行一些變更。如果是這樣,無觸點電池值得期待。

電池網微信












