今年8月底,美國一家名為Zee.Aero的公司申請的一項關于個人飛機的專利獲批了,本來那項專利并不引人注目,但是專利文件中的一張附圖顯示專利涉及到的個人飛機竟然可以象一輛汽車一樣停放

今年8月底,美國一家名為Zee.Aero的公司申請的一項關于個人飛機的專利獲批了,本來那項專利并不引人注目,但是專利文件中的一張附圖顯示專利涉及到的個人飛機竟然可以象一輛汽車一樣停放在雜貨店停車場中,而且占地面積也跟一輛普通的汽車相仿。

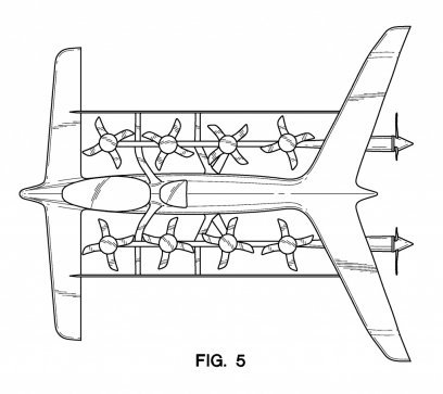
Zee.Aero是美國山景市的一家名不見經傳的隱形公司,從專利文件中的附圖來看,那并不是一架普通的飛機,而是一輛飛車!

以前,人們一直認為影片《飛出個未來》中的主人公喬治杰特森(George Jetson)駕駛的飛行車是不現實的,但是Zee.Aero的專利中提到的兩款設計卻讓飛車的概念更加接近現實了。這種飛車可以用電池來提供動力,而且可以象直升飛機一樣垂直升降,因此它就不需要跑道了。

專利文件還指出,車頂部的水平旋翼模組可以兩個向后的旋翼配合,從而讓飛車能夠做出盤旋的動作。

據知情人士透露,谷歌(微博)也參與了這種飛車的研制計劃,但是現在還不清楚它的介入程度有多深。

Zee.Aero的辦公大樓位于山景市海濱湖附近,它經營著一個簡易的網站,網站上總共只有3個網頁,而且沒有公開公司的地址、聯系電話、電子郵件或其他聯系方式。

實際上,谷歌無人車項目Google X的秘密研究基地Googleplex也在海濱湖附近。Google X項目的負責人塞巴斯蒂安特龍(Sebastian Thrun)曾說過,他預計到2040年時絕大多數人都會用上飛車。當然,象那樣天馬行空的預測其實多得很。

Zee.Aero發布的招聘啟事列出了11個崗位,待遇相當優厚,那些崗位都與機械和航空工程有關。通過在求職社交網站LinkedIn上搜索,可以發現一共有52個人有興趣到Zee.Aero工作,其中只有3人期望的崗位與技術無關。

Zee.Aero創立于2010年,斯坦福大學著名的航空學教授伊南克羅(Ilan Kroo)自2011年起轉為兼職教授,開始經營Zee.Aero公司。他與其他人共同擁有上述專利,他之前曾在美國航空航天局(NASA)工作過。

記者周二通過LinkedIn向谷歌和Zee.Aero的人力資源主管發了一封咨詢電郵,結果只接到克羅教授的回復。他是這樣說的:“感謝你對我們公司感興趣并發來郵件。正如你所知,我正在山景市的一家早期階段的初創公司研究一些有趣的交通概念。我們距離谷歌和其他一些技術公司很近,但是與它們并沒有附屬關系。公司正處于早期階段,而且是隱形階段,我們從未跟其他人談過我們的計劃。我期待著在研發取得更大進展時與你進行探討?!?

需要說明的是,專利文件中的圖紙所繪的產品很少與最終的產品是一致的。在過去的兩年里,Zee.Aero已經提交了數項專利申請。如果想對該公司的產品有一個感性的認識,我們或許應該將所有的圖紙放在一起綜合參考,然后利用一點想象力將它們結合在一起。

另一個問題是,Zee.Aero從哪去弄為飛車供電的那種電池呢?電力汽車廠商特斯拉最近已經表示它愿意對外授權其技術。

[責任編輯:中國電池網]

免責聲明:本文僅代表作者個人觀點,與電池網無關。其原創性以及文中陳述文字和內容未經本網證實,對本文以及其中全部或者部分內容、文字的真實性、完整性、及時性,本站不作任何保證或承諾,請讀者僅作參考,并請自行核實相關內容。涉及資本市場或上市公司內容也不構成任何投資建議,投資者據此操作,風險自擔!

凡本網注明?“來源:XXX(非電池網)”的作品,凡屬媒體采訪本網或本網協調的專家、企業家等資源的稿件,轉載目的在于傳遞行業更多的信息或觀點,并不代表本網贊同其觀點和對其真實性負責。

如因作品內容、版權和其它問題需要同本網聯系的,請在一周內進行,以便我們及時處理、刪除。電話:400-6197-660-2?郵箱:119@itdcw.com

電池網微信
電池 飛車