
隨著9月22日特斯拉電池日的臨近,特斯拉電池的最新技術引發了社交媒體的熱議。特斯拉Roadrunner內部項目生產的新電池圖片首次曝光,這種新電池可以將電池成本降至100美元/千瓦時的電動車盈利線,并可能會命名為餅干盒(Biscuit Tin)。
按照電池原材料咨詢公司基準礦物智庫(Benchmark Mineral Intelligence)西蒙·摩爾(Simon Moores)的說法,特斯拉新的餅干盒電池可能是特斯拉電池節的主要賣點,有望將動力電池成本降至100美元/千瓦時。
實際上,除了可能會出現的新技術外,體積更大的電池生產成本更低,原因很簡單,將電池組組裝在一起所需的電池數量將減少。當然,這些電池組具有更高的能量密度,可以幫助減少所需的電池數量。除此之外,摩爾認為,生產控制對于達到電池制造成本至關重要。上述原因可能就是餅干盒新電池的出現要解決的主要問題。

摩爾猜測,這些新電池將是在奧斯汀超級工廠生產,未來將應用于特斯拉Cybertruck皮卡、特斯拉Semi卡車以及當地生產的Model 3和Model Y。如果是這樣的話,除了目前存在的生產質量問題外,未來特斯拉加利福尼亞州弗里蒙特工廠生產的Model 3和Model Y又有拒絕新的理由。因此,特斯拉的選擇可能會更加保守,至少最開始這些新電池不會用到Model 3和Model Y之上,完全留給最新的車型,畢竟內華達州吉加超級工廠現在仍在生產2170電池。值得一提的是,摩爾斯還相信,這些餅干盒電池的生產設施將僅相當于內華達州吉加超級工廠目前生產當前2170電池組所需空間的30%,大大節省了空間。
盡管特斯拉官方嚴防死守,沒有透露新電池的任何相關信息,但我們也從社交媒體上獲得了新電池的圖片,這也是其第一次曝光。有消息人士證實,此次曝光的圖片確實是特斯拉自己使用Roadrunner系統生產的電池之一。新電池的直徑要比目前由內華達州吉加超級工廠松下生產的Model 3和Model Y 2170電池大兩倍,也就是說電池單元的體積增加了四倍。有效利用增大的體積可以實現更多的電池容量,同時通過減少外殼和每個電池組內電池單元的數量來降低成本。
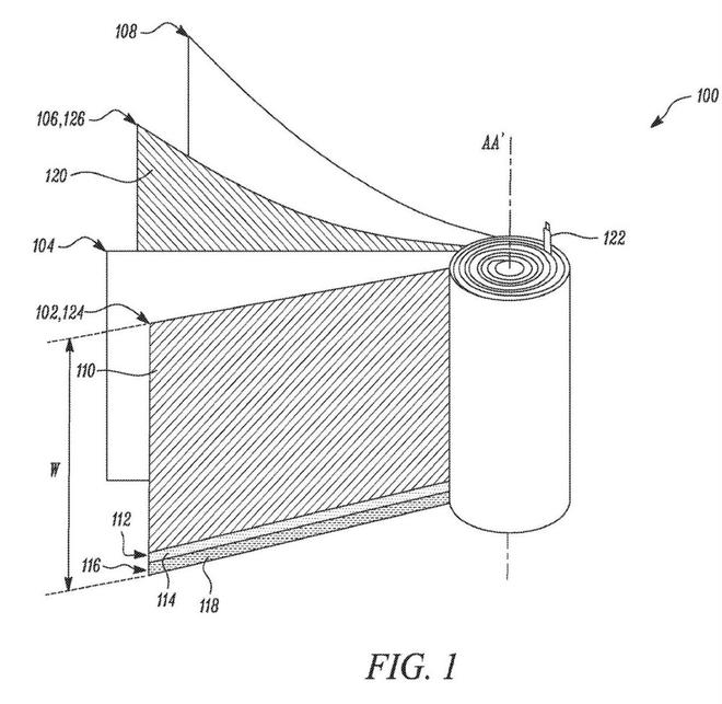
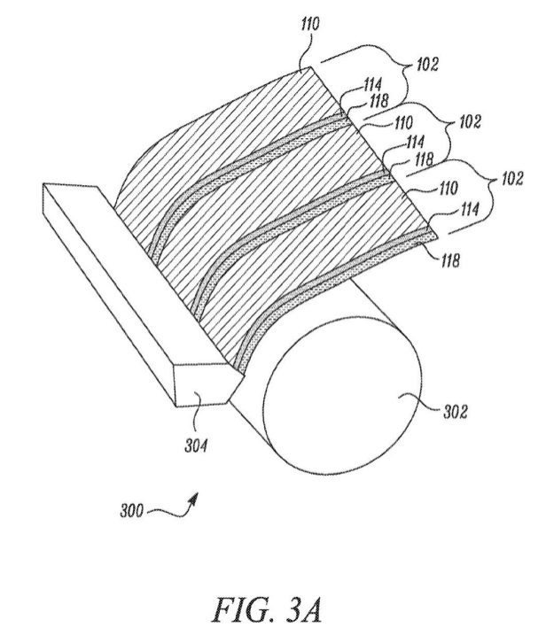
另外,曝光的新電池圖片似乎是無極耳電池,這也是特斯拉此前申請的新電池專利。這種電池有助于降低電池內部電流流過的電池內阻,從而提高性能。除了電池容量的提高之外,取消極耳可以降低成本并簡化生產流程。


特斯拉目前正在弗里蒙特超級工廠建設一條試生產線批量生產這些新電池。除此之外,特斯拉還計劃在德克薩斯州奧斯汀超級工廠部署電池制造系統。還有不到一周的時間,特斯拉預計會在電池日上正式公布新電池的詳細資料。

電池網微信












